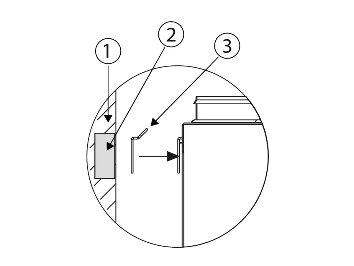
Wall Mounting Bracket

Wall mounting brackets for CASA ventilation units
  • Wall mounting bracket WRWMB for R3 / R5 /W3 / W4/W5

Filter
Comprehensive detailed product information for the best selection and integration in project design
Installation, Operating, Maintenance and Safety information
Our products and services presented in an easy-to-access manner
Declarations and certificates etc
Wiring diagrams and hydraulic schemes etc
Document Product Document type Download
Product Catalogue 2026 (pdf 9.68MB) Swegon CASA Technical catalogue
Quick Guide - AHU (pdf 4.77MB) GOLD, SILVER C, COMPACT, GLOBAL, ESENSA, CLASS UNIT, CASA, MURAL Brochure

Whilst we have made every effort to ensure information on this website is up to date and accurate, the technical specification and availability of products/services listed on this website may vary market to market and are subject to change without notice. Please contact your regional representative or visit your local website for further details.